Product id: 2000 exmark lazer discount z
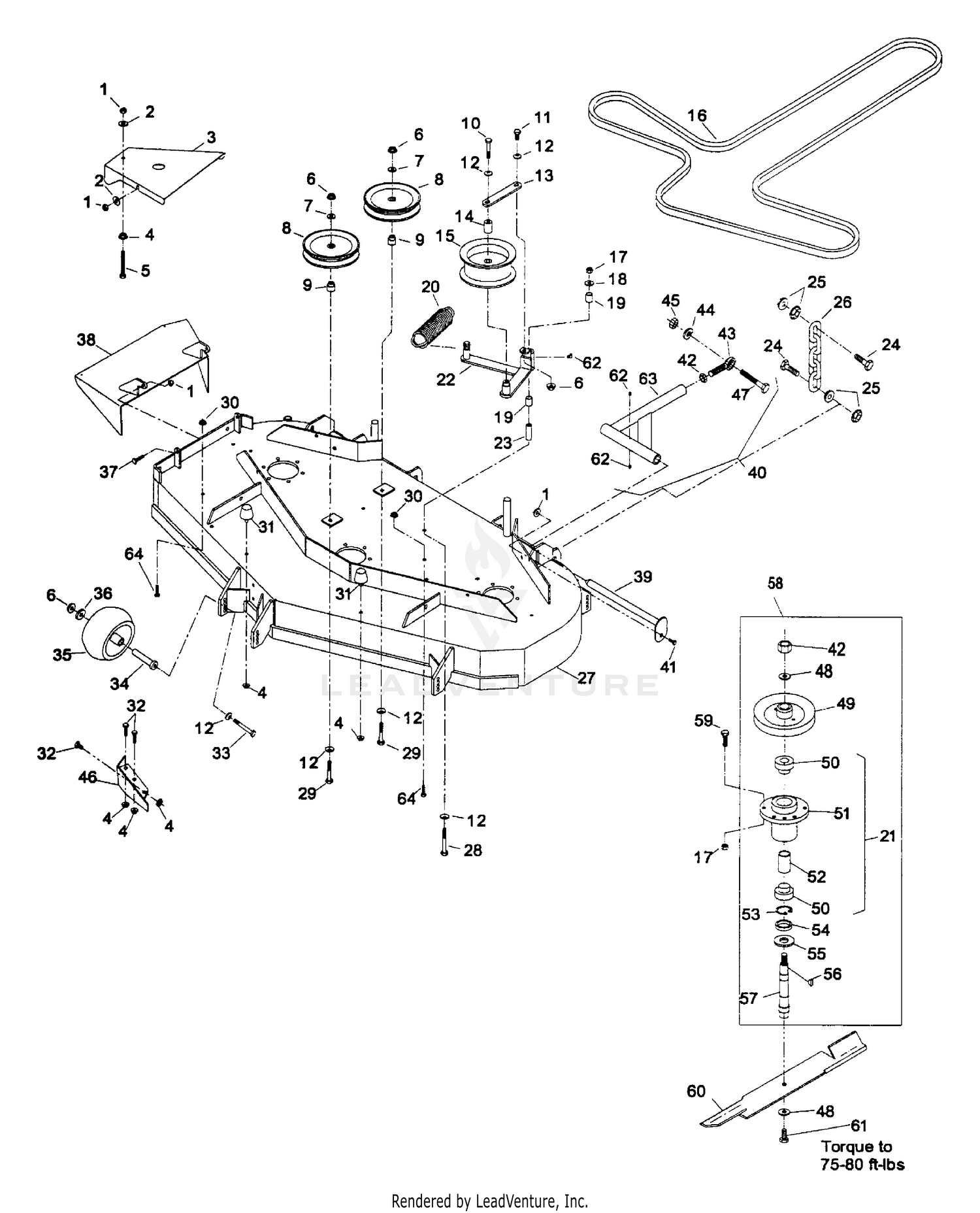
2000 EXmark LazerZ Zero Turn Lawn Mower BigIron Auctions discount, 2000 Exmark Lazer Z 60 discount, 2000 EXmark LazerZ Zero Turn Lawn Mower BigIron Auctions discount, 2000 Exmark Lazer Z 60 discount, Toro Z Master 2000 Exmark Lazer Z E series Zero Turn Review discount, 2000 EXmark LazerZ Zero Turn Lawn Mower BigIron Auctions discount, 2000 ExMark Lazer Z 60 discount, 2000 Exmark Lazer Z 60 discount, 2000 eXmark Lazer fuel injection zero turn 72 Proxibid discount, 2000 Exmark LZAS26LKA604 Zero Turn Lawn Mower in Lebanon Indiana discount, Zero Turn Lawn Mowers Auction Results AuctionTime discount, Lazer Z S Series Commercial Zero Turn Mowers Exmark discount, 2000 Exmark Lazer Z 60 discount, EXMARK LAZER Z Zero Turn Lawn Mowers Outdoor Power Auction Results discount, 2000 exmark lz26kc724 Appleton discount, EXMARK LAZER Z Zero Turn Lawn Mowers For Sale MarketBook Canada discount, 60IN EXMARK LAZER Z COMMERCIAL ZERO TURN WITH 23HP ONLY 82 A discount, 2000 Exmark Lazer Z 60 discount, 2000 eXmark Lazer fuel injection zero turn 72 Proxibid discount, 2001 Exmark Lazer Z Other Equipment Turf for Sale Tractor Zoom discount, EXMARK LAZER Z Equipment For Sale TreeTrader discount, Exmark 60 discount, EXMARK LAZER Z Zero Turn Lawn Mowers Auction Results www discount, 2000 exmark ultra cut 60 discount, EXMARK LAZER Z Zero Turn Lawn Mowers Outdoor Power Auction Results discount, SOLD Exmark Lazer Z Other Equipment Turf Tractor Zoom discount, 2000 eXmark Lazer fuel injection zero turn 72 Proxibid discount, EXMARK LAZER Z Equipment For Sale TreeTrader discount, Exmark Mowers In April of 1995 the Exmark Lazer Z is introduced discount, 52IN EXMARK LAZER Z HP COMMERCIAL ZERO TURN WITH discount, Richards Repair ExMark Lazer Z CT 44 cut Zero turn Facebook discount, THE BEST MOWER ON THE MARKET I love my Exmark Lazer Z discount, SOLD Exmark Lazer ZCT Other Equipment Turf Tractor Zoom discount, Used Exmark LAZER Z 60 for Sale 1 Listing Machinery Pete discount, The Truth about Exmark What s the difference between Exmark and Toro discount, Exmark Lazer Z HP S N 220 000 259 999 LHP4417KA S N 220 000 discount, EXMARK LAZER Z Zero Turn Lawn Mowers For Sale TractorHouse discount, SOLD Exmark Lazer ZHP Other Equipment Turf Tractor Zoom discount, EXMARK LAZER Z Lawn Mowers For Sale TractorHouse discount, ExMark Lazer Z commercial zero turn mower 61 March discount, 2002 Exmark Lazer Z 60 discount, Exmark 48 discount, 2003 Exmark Lazer Z XP 72 Lawn Mower Online Government Auctions of discount, Exmark Lazer Z 60 Used Zero Turn Mower Adams Small Engine LLC discount, Exmark Introduces New Lazer Z Diesel discount, EXMARK LAZER Z Lawn Mowers For Sale TractorHouse discount, 2002 Exmark Lazer Z HP 48 Inch Zero Turn Riding with Bagging Kit discount, Exmark LZ26KC724 S N 252 000 259 999 2000 Parts Diagram for discount, 2000 EXmark LazerZ Zero Turn Lawn Mower BigIron Auctions discount, Exmark LZ25KC604 S N 220 000 251 999 2000 Parts Diagram for 52 discount.
2000 EXmark LazerZ Zero Turn Lawn Mower BigIron Auctions discount, 2000 Exmark Lazer Z 60 discount, 2000 EXmark LazerZ Zero Turn Lawn Mower BigIron Auctions discount, 2000 Exmark Lazer Z 60 discount, Toro Z Master 2000 Exmark Lazer Z E series Zero Turn Review discount, 2000 EXmark LazerZ Zero Turn Lawn Mower BigIron Auctions discount, 2000 ExMark Lazer Z 60 discount, 2000 Exmark Lazer Z 60 discount, 2000 eXmark Lazer fuel injection zero turn 72 Proxibid discount, 2000 Exmark LZAS26LKA604 Zero Turn Lawn Mower in Lebanon Indiana discount, Zero Turn Lawn Mowers Auction Results AuctionTime discount, Lazer Z S Series Commercial Zero Turn Mowers Exmark discount, 2000 Exmark Lazer Z 60 discount, EXMARK LAZER Z Zero Turn Lawn Mowers Outdoor Power Auction Results discount, 2000 exmark lz26kc724 Appleton discount, EXMARK LAZER Z Zero Turn Lawn Mowers For Sale MarketBook Canada discount, 60IN EXMARK LAZER Z COMMERCIAL ZERO TURN WITH 23HP ONLY 82 A discount, 2000 Exmark Lazer Z 60 discount, 2000 eXmark Lazer fuel injection zero turn 72 Proxibid discount, 2001 Exmark Lazer Z Other Equipment Turf for Sale Tractor Zoom discount, EXMARK LAZER Z Equipment For Sale TreeTrader discount, Exmark 60 discount, EXMARK LAZER Z Zero Turn Lawn Mowers Auction Results www discount, 2000 exmark ultra cut 60 discount, EXMARK LAZER Z Zero Turn Lawn Mowers Outdoor Power Auction Results discount, SOLD Exmark Lazer Z Other Equipment Turf Tractor Zoom discount, 2000 eXmark Lazer fuel injection zero turn 72 Proxibid discount, EXMARK LAZER Z Equipment For Sale TreeTrader discount, Exmark Mowers In April of 1995 the Exmark Lazer Z is introduced discount, 52IN EXMARK LAZER Z HP COMMERCIAL ZERO TURN WITH discount, Richards Repair ExMark Lazer Z CT 44 cut Zero turn Facebook discount, THE BEST MOWER ON THE MARKET I love my Exmark Lazer Z discount, SOLD Exmark Lazer ZCT Other Equipment Turf Tractor Zoom discount, Used Exmark LAZER Z 60 for Sale 1 Listing Machinery Pete discount, The Truth about Exmark What s the difference between Exmark and Toro discount, Exmark Lazer Z HP S N 220 000 259 999 LHP4417KA S N 220 000 discount, EXMARK LAZER Z Zero Turn Lawn Mowers For Sale TractorHouse discount, SOLD Exmark Lazer ZHP Other Equipment Turf Tractor Zoom discount, EXMARK LAZER Z Lawn Mowers For Sale TractorHouse discount, ExMark Lazer Z commercial zero turn mower 61 March discount, 2002 Exmark Lazer Z 60 discount, Exmark 48 discount, 2003 Exmark Lazer Z XP 72 Lawn Mower Online Government Auctions of discount, Exmark Lazer Z 60 Used Zero Turn Mower Adams Small Engine LLC discount, Exmark Introduces New Lazer Z Diesel discount, EXMARK LAZER Z Lawn Mowers For Sale TractorHouse discount, 2002 Exmark Lazer Z HP 48 Inch Zero Turn Riding with Bagging Kit discount, Exmark LZ26KC724 S N 252 000 259 999 2000 Parts Diagram for discount, 2000 EXmark LazerZ Zero Turn Lawn Mower BigIron Auctions discount, Exmark LZ25KC604 S N 220 000 251 999 2000 Parts Diagram for 52 discount.